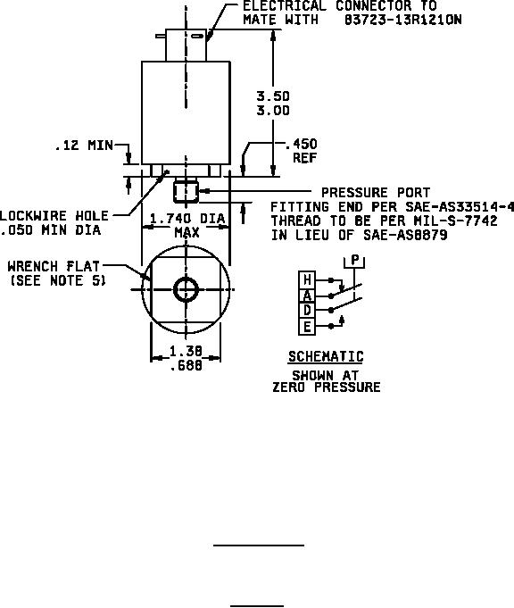
MIL-DTL-9395-30 Switches, Pressure, \(Gage\), Type Ii, 5 Amperes