
INCH-POUND
MIL-DTL-9395/30H
28 November 2012
SUPERSEDING
MIL-DTL-9395/30G
3 February 2005
DETAIL SPECIFICATION SHEET
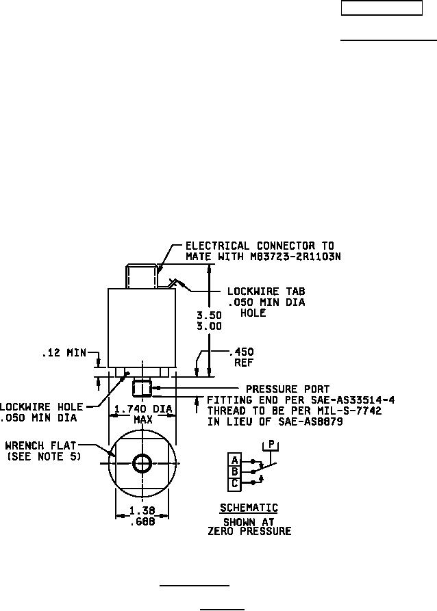
SWITCHES, PRESSURE, (GAGE),
TYPE II, 5 AMPERES
This specification is approved for use by all Departments and Agencies of the Department of Defense.
The complete requirements for acquiring the switches described herein
shall consist of this specification and the latest issue of MIL-DTL-9395.
WEIGHT: NOT TO EXCEED .45 LBS.
Configuration 1
FIGURE 1. Switches.
AMSC N/A
FSC 5930
For Parts Inquires call Parts Hangar, Inc (727) 493-0744
© Copyright 2015 Integrated Publishing, Inc.
A Service Disabled Veteran Owned Small Business