
MIL-DTL-9395/30H
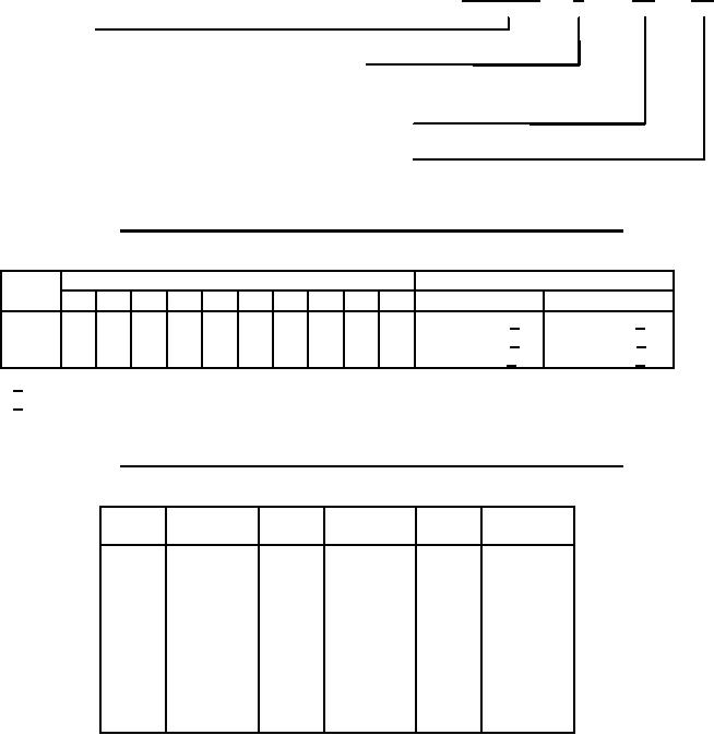
PART NUMBER: Consists of the prefix "M9395/30-" followed by a five-character code. The code
identifies the configuration and pressure setting mode (code from table I); high-pressure setting to
2
2
within 100 lbf/in (code from table II) followed by high-pressure setting to within 25 lbf/in and
applicable tolerance (code from table III). The five-character code used in the following example
identifies a switch of configuration 1 which actuates on increasing pressure at 300 ±25 lbf/in , and
2
deactuates on decreasing pressure at 150±25 lbf/in .
2
EXAMPLE:
M9395/30-
A
CA
AC
PREFIX
CONFIGURATION AND PRESSURE SETTING
MODE= Code "A" of table I.
HIGH-PRESSURE SETTING = Code "C" of table II
(300 lbf/in ) and Code "A" of table III (0, ±25 lbf/in ).
2
2
LOW-PRESSURE SETTING = Code "A" of table II
(100 lbf/in ) and Code "C" of table III (+50, ±25 lbf/in ).
2
2
TABLE I. Codes for combinations of configurations and pressure setting modes.
Configuration
Pressure setting mode
1
2
3
4
5
6
7
8
9
10
high setting
Low setting
Code
A
D
G
K
NRU
X
1
4
At (or max) 1/
At (or min) 1/
Code
B
E
H
L
P
S
V
Y
2
5
At (or max) 1/
Differential 2/
Code
C
F
J
MQT
W
Z
3
5
Differential 2/
At (or min) 1/
1/ Setting values are designated by codes from tables II and III.
2/ Setting values are designated by codes from table IV.
TABLE I. Codes for combinations of configurations and pressure setting modes.
Pressure
Pressure
Pressure
Code
Code
Code
2
2
2
(lbf/in )
(lbf/in )
(lbf/in )
A
100
L
1100
W
2100
B
200
M
1200
X
2200
C
300
N
1300
Y
2300
D
400
P
1400
Z
2400
E
500
Q
1500
1
2500
F
600
R
1600
2
2600
G
700
S
1700
3
2700
H
800
T
1800
4
2800
J
900
U
1900
5
2900
K
1000
V
2000
6-
3000
13
For Parts Inquires call Parts Hangar, Inc (727) 493-0744
© Copyright 2015 Integrated Publishing, Inc.
A Service Disabled Veteran Owned Small Business