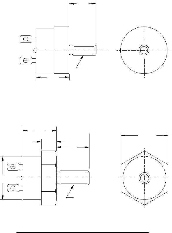
MIL-PRF-24236/1P
.187
± .005
.138-32 UNC-2A
.481
Configuration A4
.481
.625
.410
.625 10
± .0
HEX X
HE
.22
.18
.50
± .01
.60
Ø .55
.191-32 UNF-2A THD
Configuration A5
FIGURE 1. Switches, thermostatic, (bimetallic), subminiature, type I, hermetically sealed - Continued.
6