
MIL-PRF-24236/1P
.140
.021
± .007
± .005
.937
± .007
1.260
1.160
.468
± .010
.640
Ø.140
MAX
± .007
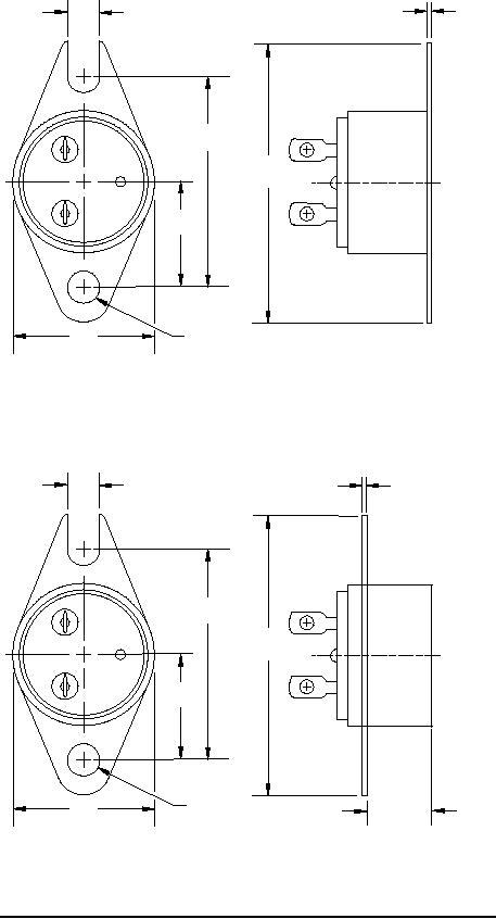
Configuration A1
.140
.021
± .007
± .005
.937
± .007
1.260
1.160
.468
± .010
Ø.140
.325
.640
.260
± .007
MAX
Configuration A2
FIGURE 1. Switches, thermostatic, (bimetallic), subminiature, type I, hermetically sealed - Continued.
2