
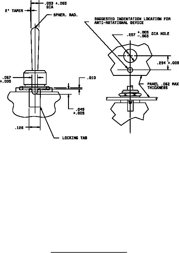
MIL-DTL-8834/1A
Inches
mm
Inches
mm
Inches
mm
.003
0.08
.049
1.24
.294
7.47
.005
0.13
.062
1.57
.304
7.72
.008
0.20
.067
1.70
.408
10.36
.010
0.25
.093
2.36
.440
11.18
.016
0.41
.125
3.18
.590
14.99
.020
0.51
.170
4.32
.749
19.02
.025
0.64
.250
6.35
1.110
28.19
.035
0.89
.257
6.53
.045
1.14
.293
7.44
NOTES:
1. Dimensions are in inches.
2. Metric equivalents are given for general information only.
3. Unless otherwise specified, tolerances are ±.010 for decimals and ±.5° for angles.
4. For hardware detail specifications see appendix of MIL-DTL-8834.
5. Nonfunctional terminals shall not be supplied.
FIGURE 2. Switches with .250 inch mounting bushing - Continued.
4