
INCH-POUND
MIL-DTL-8834/1A
18 April 2002
SUPERSEDING
MIL-S-8834/1
21 June 1993
DETAIL SPECIFICATION
SWITCHES, TOGGLE, POSITIVE BREAK,
FOUR POLE, MINIATURE, SEALED,
SOLDER LUG, WITH OR WITHOUT LEVER LOCK,
.469 OR .250 INCH MOUNTING BUSHING
This specification is approved for use by all Depart-
ments and Agencies of the Department of Defense.
The requirements for acquiring the product described herein
shall consist of this specification and MIL-DTL-8834.
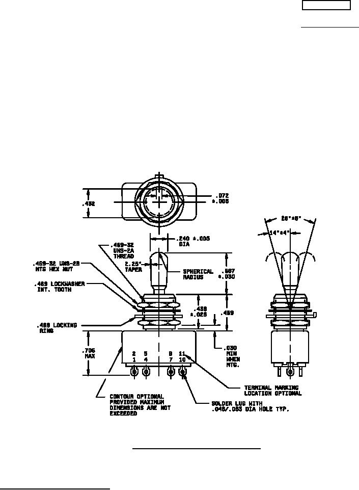
FIGURE 1. Switches with .469 inch mounting bushing.
AMSC N/A
1 of 8
FSC 5930
DISTRIBUTION STATEMENT A. Approved for public release; distribution is unlimited.