
MIL-PRF-8805/40K
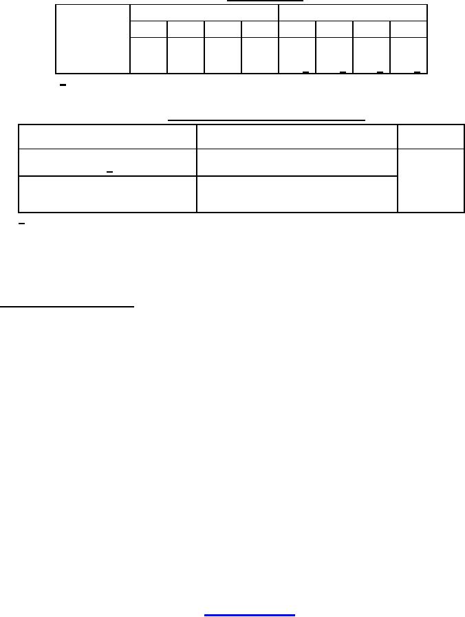
TABLE II. Electrical ratings.
Sea level 28 V dc (amperes)
50,000 feet 28 V dc (amperes)
Load
-1
-2, -6
-3
-4
-1
-2, -6
-3
-4
Resistive
4
10
15
15
4
10
15
15
Inductive
2
3
10
10
2
3
10
10
Motor
4
6
5
5
4 1/
6 1/
5 1/
5 1/
1/ Application information only.
TABLE III. Qualification inspection (group submission).
Extent of
Examination or test
Samples
Approval
Qualification inspection table of
MS24331-1 (24 units)
MIL-PRF-8805 1/
All
Visual and mechanical examination
MS24331-2, MS-24331-3, MS24331-4,
Group II and V
and MS24331-6 (2 units each)
Group VII
MS24331-3, MS24331-6 (10 units each)
1/ Two sample units shall be tested for fluid resistance following visual and mechanical examination
of group I.
NOTE: Part number MS24331-5, covered by MIL-PRF-8805/40A, is canceled. For future procurement
use part number MS24331-1.
Changes from previous issue. The margins of this specification are marked with vertical lines to indicate
where modifications from this revision were made. This was done as a convenience only and the
Government assumes no liability whatsoever for any inaccuracies in these notations. Bidders and
contractors are cautioned to evaluate the requirements of this document based on the entire content
irrespective of the marginal notations.
Referenced Documents:
MIL-DTL-5624
MS25081
MIL-PRF-7808
NASM 35333
MIL-PRF-8805
ASTM E1119
MS21340
SAE-AS1241
Custodians:
Preparing activity:
Army - CR
DLA - CC
Navy - EC
Air Force - 85
(Project 5930-2013-021)
DLA - CC
Review activities:
Army - AR, AV, MI
Navy - AS, MC, OS
Air Force - 19, 99
NOTE: The activities listed above were interested in this document as of the date of this document.
Since organizations and responsibilities can change, you should verify the currency of the information
above using the ASSIST Online database at https://assist.dla.mil.
4
For Parts Inquires call Parts Hangar, Inc (727) 493-0744
© Copyright 2015 Integrated Publishing, Inc.
A Service Disabled Veteran Owned Small Business