
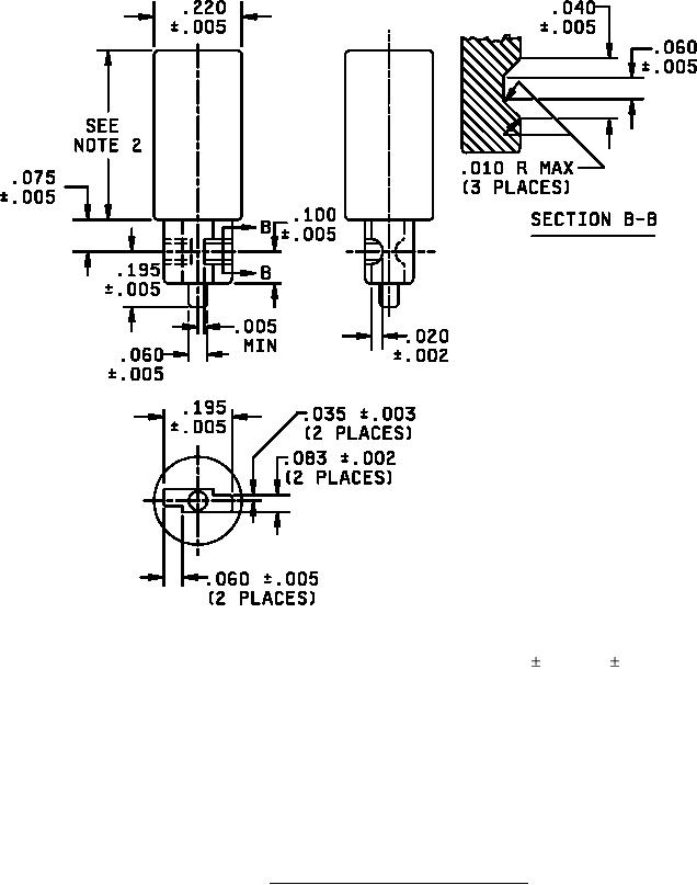
MIL-PRF-22885/91C
Inches
mm
0.05
.002
0.08
.003
0.13
.005
0.25
.010
0.51
.020
0.89
.035
1.02
.040
1.52
.060
1.90
.075
2.11
.083
2.54
.100
4.95
.195
5.59
.220
NOTES:
1. All radii .030 .015 (0.76 0.38 mm) unless
otherwise specified.
2. This dimension shall be adjusted to provide
a total weight of 5 +1, -0 gram.
3. May be of multi-piece construction.
4. May be suitably plated to resist corrosion.
5. Dimensions are in inches.
6. Metric equivalents are given for general
information only.
FIGURE 7. 11-3/4 wedge base lamp retention plug.
10
For Parts Inquires call Parts Hangar, Inc (727) 493-0744
© Copyright 2015 Integrated Publishing, Inc.
A Service Disabled Veteran Owned Small Business