
MIL-PRF-22885/11J
Inches
mm
Inches
mm
.010
0.25
.66
16.8
.075
1.91
.718
18.24
.203
5.16
.844
21.44
.296
7.52
1.062
26.97
.359
9.12
1.20
30.5
.430
10.92
1.344
34.14
.556
14.12
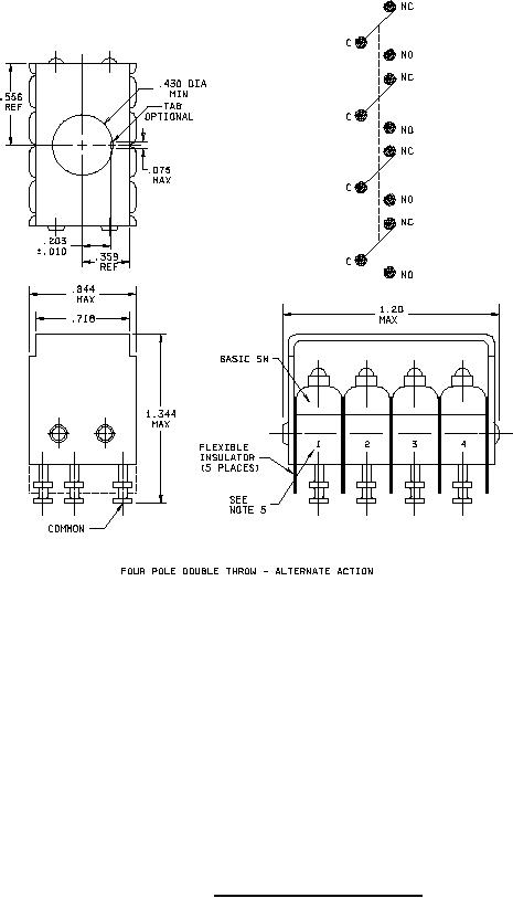
NOTES:
1. Dimensions are in inches. Metric equivalents are given for general information only.
2. Unless otherwise specified, tolerance is ±.016 (0.41 mm).
3. The design configuration is optional within envelope dimensions shown.
4. Flat or cylindrical type terminal design is optional.
5. Basic switch number shall be permanently marked as shown.
FIGURE 1. Dimensions and configurations - Continued.
4
For Parts Inquires call Parts Hangar, Inc (727) 493-0744
© Copyright 2015 Integrated Publishing, Inc.
A Service Disabled Veteran Owned Small Business