
MIL-DTL-9395/32D
SAE-AS5202
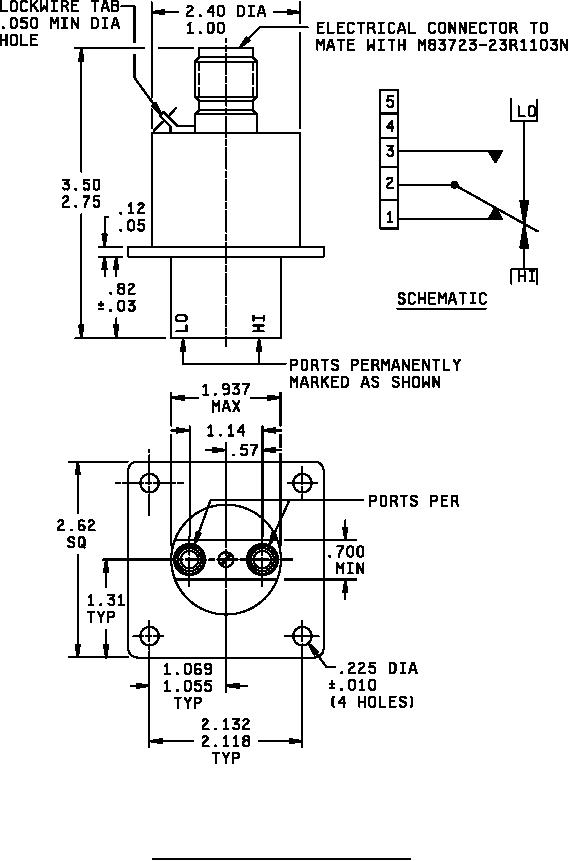
WEIGHT: NOT TO EXCEED .8 lbs
Configuration 2
FIGURE 1. Switches, pressure, differential, type III - Continued.
2
For Parts Inquires call Parts Hangar, Inc (727) 493-0744
© Copyright 2015 Integrated Publishing, Inc.
A Service Disabled Veteran Owned Small Business