
MIL-DTL-83731/22C
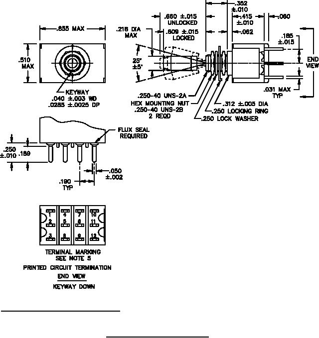
PRINTED CIRCUIT TERMINATION
FIGURE 1. Dimensions and configurations Continued.
2
For Parts Inquires call Parts Hangar, Inc (727) 493-0744
© Copyright 2015 Integrated Publishing, Inc.
A Service Disabled Veteran Owned Small Business