
MIL-DTL-3786/41A
REQUIREMENTS: -Continued
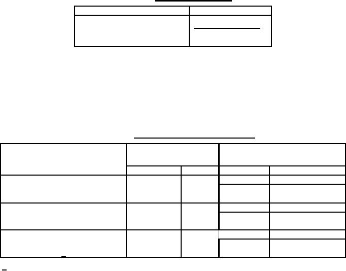
Dielectric withstanding voltage: See table II.
TABLE II. Dielectric-test voltages.
Altitude
Test voltages
(Volts, rms) (60 Hz)
At atmospheric pressure
500
At reduced barometric pressure
350
Extent of qualification: "F" construction style qualifies "E" construction style for the same switches
provided two sample units of "E" construction switches are tested to explosion requirement to verify
explosion proof capability.
Life (rotational): The test loads for the applicable circuit conditions shall be as specified in table III.
Each of the loads specified for the applicable environmental condition shall be switches by at least
one rotor contact of the switch.
TABLE III. Circuit values for life (rotational) test.
Environmental
Inductive load
Resistive load
condition
(2.8 henries)
Milliamperes Volts, dc
Amperes
Volts
At atmospheric pressure and
.125
28 dc
elevated temperature (85°C or
50
28
115 V rms
.075
125°C) (25,000 cycles)
60 Hz
.050
28 dc
At reduced barometric pressure
10
28
115 V rms
(approximately 25°C). 25,000 cycles
.020
60 Hz
At atmospheric pressure and room
.500
28 dc
temperature (approx. 25°C)
250
28
115 V rms
.500
60 Hz
(10,000 cycles) 1/
1/ The contact resistance (applicable to ac and dc), after life tests shall not exceed 50 milliohms.
6