
MIL-DTL-15743/17B
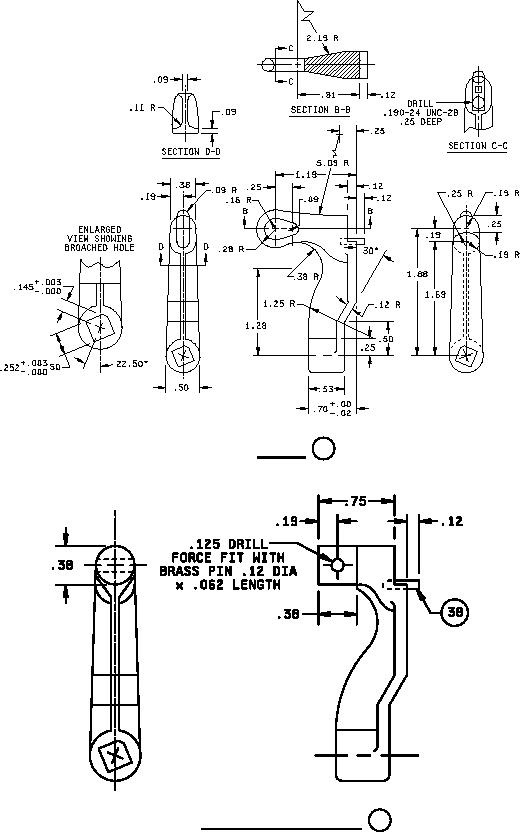
FIGURE 4. Handle. 04
FIGURE 5. Handle body (for knobs). 05
(same as item 04 except as shown)
4
For Parts Inquires call Parts Hangar, Inc (727) 493-0744
© Copyright 2015 Integrated Publishing, Inc.
A Service Disabled Veteran Owned Small Business