
INCH-POUND
MIL-PRF-8805/92D
19 October 2006
SUPERSEDING
MIL-PRF-8805/92C
31 October 2001
PERFORMANCE SPECIFICATION SHEET
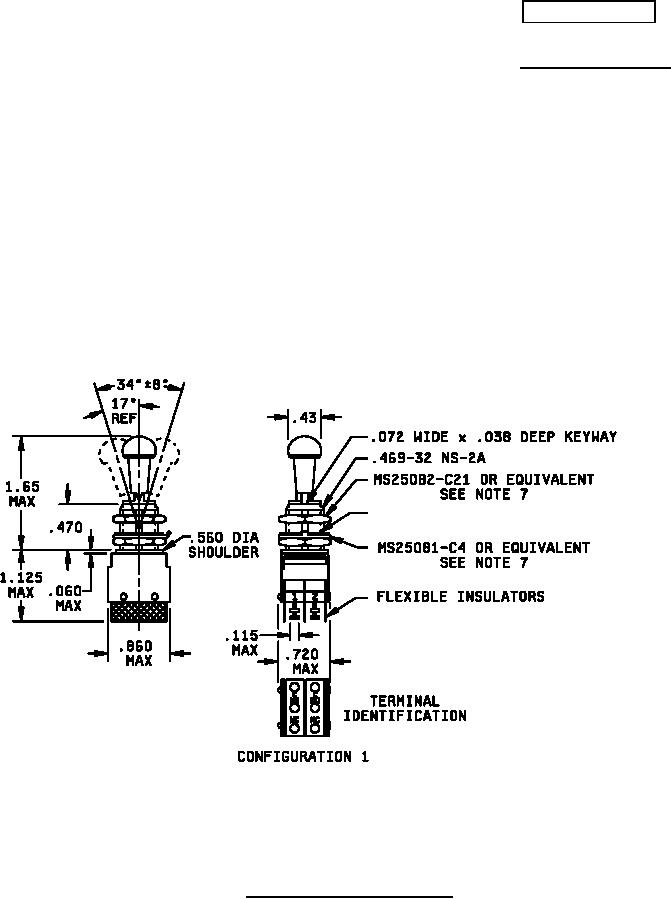
SWITCH ASSEMBLIES, SENSITIVE, LEVER LOCK, 5 AMPERES, UNSEALED
This specification is approved for use by all Departments and Agencies of the
Department of Defense.
The requirements for acquiring the product described herein shall consist of this specification
and MIL-PRF-8805.
NASM35333-136 OR EQUIVALENT SEE NOTE 7
FIGURE 1. Configurations and dimensions.
AMSC N/A
FSC 5930
For Parts Inquires call Parts Hangar, Inc (727) 493-0744
© Copyright 2015 Integrated Publishing, Inc.
A Service Disabled Veteran Owned Small Business