
INCH-POUND
MIL-PRF-8805/44F
31 January 2006
SUPERSEDING
MIL-PRF-8805/44E
19 September, 2000
PERFORMANCE SPECIFICATION SHEET
SWITCHES, SENSITIVE, SPST, 5 AMPERES, RESILIENT SEAL
This specification is approved for use by all Departments and Agencies of the Department of Defense.
The requirements for acquiring the product described herein shall consist of this specification and MIL-PRF-8805.
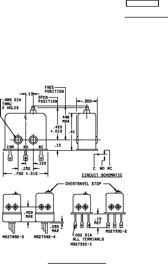
FIGURE 1. Dimensions and configuration.
AMSC N/A
FSC 5930
For Parts Inquires call Parts Hangar, Inc (727) 493-0744
© Copyright 2015 Integrated Publishing, Inc.
A Service Disabled Veteran Owned Small Business