
INCH-POUND
MIL-PRF-8805/43K
1 July 2014
SUPERSEDING
MIL-PRF-8805/43J
21 January 2005
PERFORMANCE SPECIFICATION SHEET
SWITCHES, SENSITIVE, PLUNGER, RESILIENT SEAL, FLUID RESISTANT
This specification is approved for use by all
Departments and Agencies of the Department of Defense.
The complete requirements for acquiring the switch described herein shall consist of this specification and
the latest issue of MIL-PRF-8805.
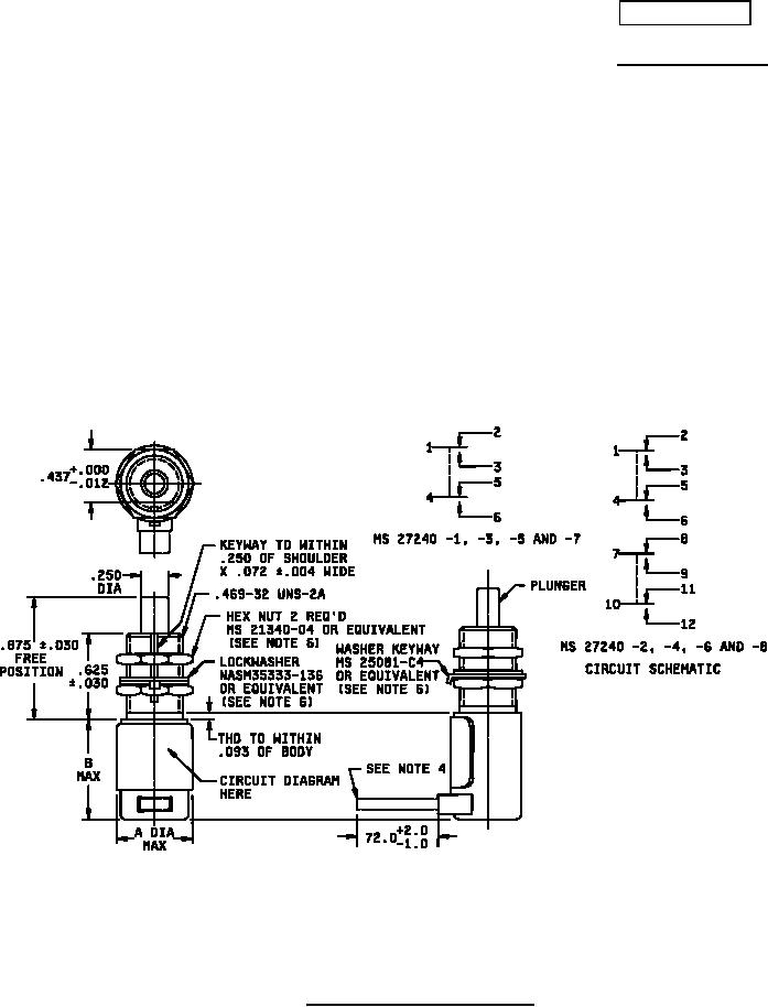
MS27240 -1,-2,-5,-6
NOTE: MS27240 was superseded by MIL-PRF-8805/43, the MS27240 Part Numbers (PINS) were retained.
FIGURE 1. Dimensions and configurations.
AMSC N/A
FSC 5930
For Parts Inquires call Parts Hangar, Inc (727) 493-0744
© Copyright 2015 Integrated Publishing, Inc.
A Service Disabled Veteran Owned Small Business