
INCH-POUND
MIL-PRF-8805/31G
14 March 2003
SUPERSEDING
MIL-PRF-8805/31F
3 September 1999
PERFORMANCE SPECIFICATION SHEET
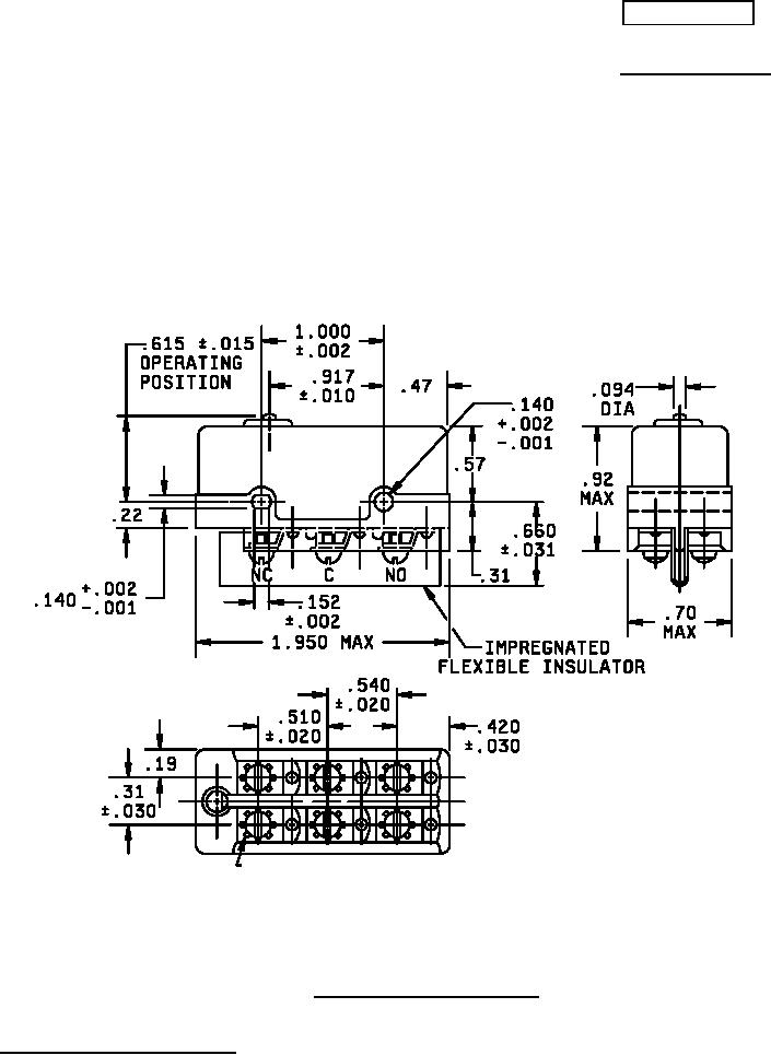
SWITCH, SENSITIVE, DPDT, PLUNGER, 10 AMPERES, UNSEALED
This specification forms a part of MIL-PRF-8805, dated 23 January 1998, and is
approved for use by all Departments and Agencies of the Department of Defense.
The requirements for acquiring the product described herein shall consist of this
specification and MIL-PRF-8805.
SCREW, AN 508-4-2 OR EQUIVALENT
WASHER, NASM35333-104 OR EQUIVALENT
6 EA REQ'D
SEE NOTE 6
FIGURE 1. Dimensions and configurations.
AMSC N/A
1 of 4
FSC 5930
DISTRIBUTION STATEMENT A. Approved for public release; distribution is unlimited.
For Parts Inquires call Parts Hangar, Inc (727) 493-0744
© Copyright 2015 Integrated Publishing, Inc.
A Service Disabled Veteran Owned Small Business