
INCH-POUND
MIL-PRF-8805/26J
6 December 2012
SUPERSEDING
MIL-PRF-8805/26H
1 May 2006
PERFORMANCE SPECIFICATION SHEET
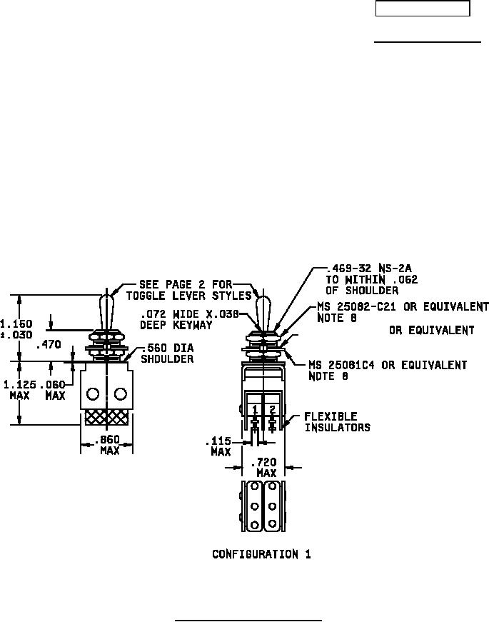
SWITCHES, ASSEMBLIES, SENSITIVE, TOGGLE LEVER
(WITH INTEGRAL LEAF), 5 AMPERES, UNSEALED
This specification is approved for use by all Departments and Agencies of the Department of Defense.
The complete requirements for acquiring the switch described herein shall consist of this specification and
the latest issue of MIL-PRF-8805.
NASM35333-136
NOTE 8
FIGURE 1 Dimensions and configurations.
AMSC N/A
FSC 5930
For Parts Inquires call Parts Hangar, Inc (727) 493-0744
© Copyright 2015 Integrated Publishing, Inc.
A Service Disabled Veteran Owned Small Business