
INCH-POUND
MIL-PRF-8805/22D
31 October 2001
SUPERSEDING
MIL-S-8805/22C
30 June 1970
PERFORMANCE SPECIFICATION SHEET
SWITCHES, SENSITIVE, SPDT, 5 AMPERES, UNSEALED
INACTIVE FOR NEW DESIGN AFTER 30 JUNE 1970
This specification forms a part of MIL-PRF-8805, dated 23 January 1998, and is
approved for use by all Departments and Agencies of the Department of Defense.
The requirements for acquiring the product described herein shall consist of this
specification and MIL-PRF-8805.
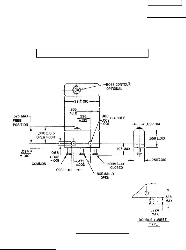
FIGURE 1. Dimensions and configurations.
AMSC N/A
1 of 4
FSC 5930
DISTRIBUTION STATEMENT A. Approved for public release; distribution is unlimited.
For Parts Inquires call Parts Hangar, Inc (727) 493-0744
© Copyright 2015 Integrated Publishing, Inc.
A Service Disabled Veteran Owned Small Business