
MIL-PRF-24236/13J
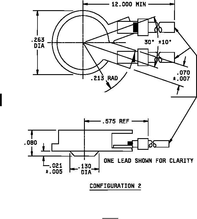
22 AWG WIRE-LEAD TERMINAL
IN ACCORDANCE WITH
SAE-AS22759/11
FIGURE 1. Switches - Continued.
2
For Parts Inquires call Parts Hangar, Inc (727) 493-0744
© Copyright 2015 Integrated Publishing, Inc.
A Service Disabled Veteran Owned Small Business