
MIL-PRF-22885/93D
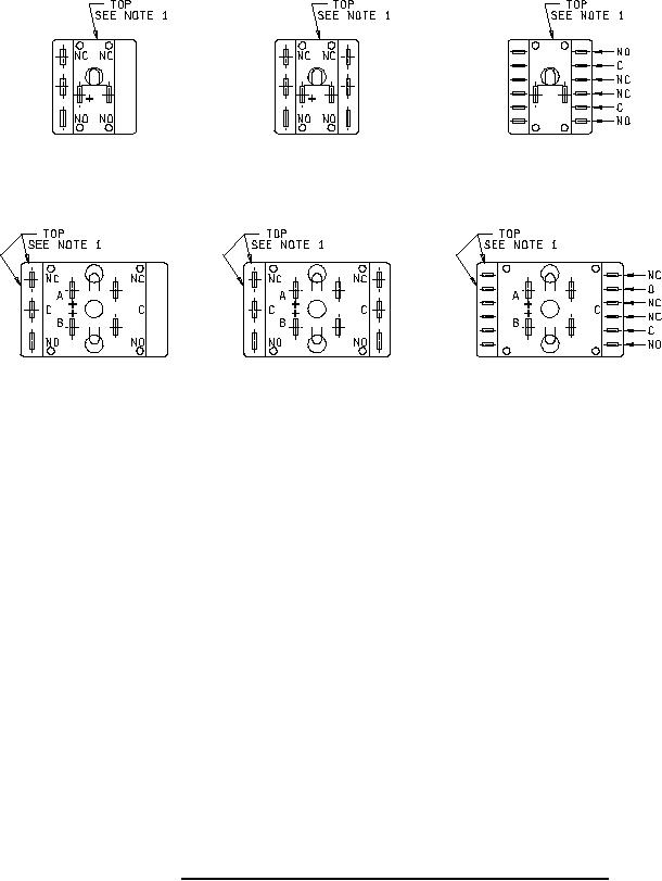
SQUARE
SQUARE
SQUARE
1 pole configuration
2 pole configuration
4 pole configuration
RECTANGULAR
RECTANGULAR
RECTANGULAR
1 pole configuration
2 pole configuration
4 pole configuration
Illuminated devices shown for non-illuminated devices, lamp terminals are not provided.
NOTES:
1. Top side of switch is shown to insure proper legend orientation. See application information.
2. Switch terminals shall be located relative to top sides of switch as shown. Orientation of switch terminals is
optional.
3. Location and orientation of lamp (or LED) terminals optional.
4. Terminal identification marking shall be as shown. Terminal identification may be marked on adjacent side
of housing.
5. Minimum spacing between terminals and minimum distance from terminal edge to edge of housing is .045
inch.
FIGURE 3. Terminal location-push buttons - solder or quick connect terminals.
7
For Parts Inquires call Parts Hangar, Inc (727) 493-0744
© Copyright 2015 Integrated Publishing, Inc.
A Service Disabled Veteran Owned Small Business