
INCH-POUND
MIL-PRF-22710/23D
20 April 2001
SUPERSEDING
MIL-S-22710/23C
30 September 1986
PERFORMANCE SPECIFICATION SHEET
SWITCHES, CODE INDICATING WHEEL (PRINTED CIRCUIT),
(PUSHBUTTON, UNIDIRECTIONAL, SEALED OR UNSEALED, ILLUMINATED)
(SIDE RELAMPABLE) OR NON ILLUMINATED, STYLE SRPC23
This specification is approved for use by all Departments and Agencies of the Department of Defense.
The requirements for acquiring the product described herein shall consist of this specification sheet and
the issue of MIL-PRF-22710 listed in that issue of the Department of Defense Index of Specifications and
Standards (DODISS) specified in the solicitation.
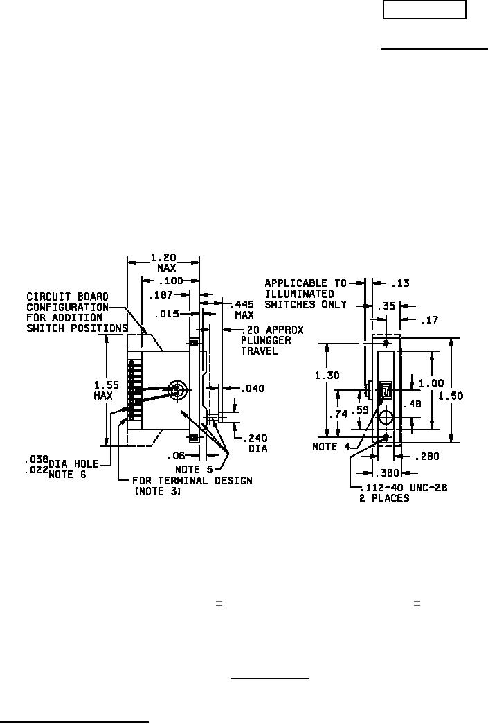
Inch mm
Inch
mm
Inch
mm
Inch mm
Inch
mm
Inch
mm
0.02 0.38
0.06
1.52
0.19
4.75
0.35 8.89
0.59
14.99
1.30
33.02
0.03 0.66
0.10
2.54
0.20
5.08
0.38 9.65
0.74
18.80
1.50
38.10
0.04 0.97
0.13
3.30
0.24
6.10
0.45 11.30
1.00
25.40
1.55
39.37
0.17
4.32
0.25
6.35
0.48 12.19
1.20
30.48
NOTES
1. Dimensions are in inches. Metric equivalents are for general information only.
2. Unless otherwise specified, tolerances are .02 (.51 mm) for two places decimals and .010 (.25mm)
for three place decimals.
3. Character height is .156 (3.96 mm).
4. Housing, mounting flange and actuator are metal.
5. This size hole will accommodate one AWG wire 122.
FIGURE 1. Switch assembly.
AMSC N/A
1 of 12
FSC 5930
DISTRIBUTION STATEMENT A. Approved for public release; distribution is unlimited.