
INCH-POUND
MIL-DTL-9419/2E
25 April 2003
SUPERSEDING
MIL-S-9419/2D
26 June 1995
DETAIL SPECIFICATION SHEET
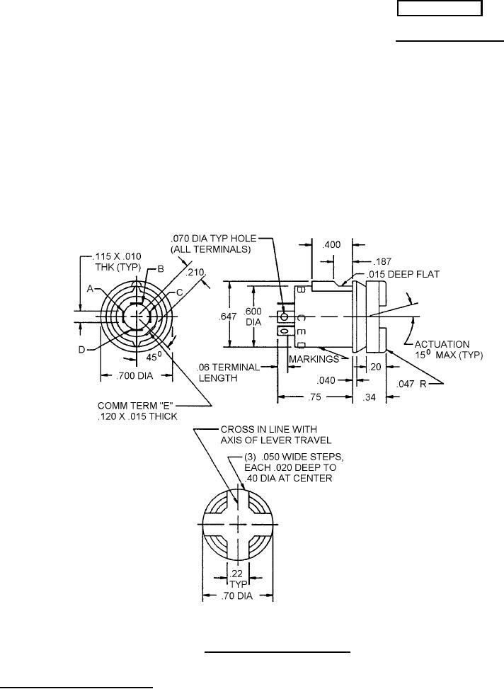
SWITCHES, TOGGLE, FOUR POSITION ON, MOMENTARY, CENTER OFF
(.600 DIA),
This specification is approved for use by all Departments
and Agencies of the Department of Defense.
The requirements for acquiring the product described herein
shall consist of this specification and MIL-DTL-9419.
TOGGLE STYLE A
FIGURE 1. Dimensions and configurations..
AMSC N/A
1 of 6
FSC 5930
DISTRIBUTION STATEMENT A. Approved for public release; distribution is unlimited.