emilspec
An Integrated Publishing, Inc. Site
eMilSpec
An Integrated Publishing Website
MIL-DTL-5423-14 Boot, Dust And Water Seal, Type D \(For Lever Operated Circuit Breakers\), Style 2 \(Panel Mounted Complete With Mounting Frame\)
Pages
1
-
2
-
3
-
4
-
5
MIL-DTL-5423/14G
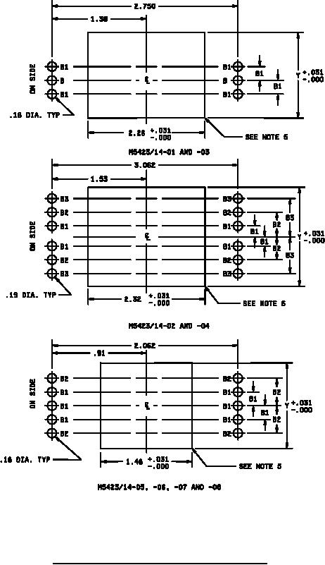
FIGURE
1. Dimensions and configuration boots type D, style 1 Continued.
2
For Parts Inquires call
Parts Hangar, Inc
(727) 493-0744
© Copyright 2015 Integrated Publishing, Inc.
A Service Disabled Veteran Owned Small Business