
INCH-POUND
MIL-DTL-3786/35F
26 March 2003
SUPERSEDING
MIL-S-3786/35E
28 September 1993
DETAIL SPECIFICATION SHEET
SWITCH, ROTARY, CLOSED CONSTRUCTION, EXPLOSION PROOF,
FLUX SEAL AND NON-FLUX SEAL, .200 AMPERE,
STYLE SR35
This specification is approved for use by all Departments
and Agencies of the Department of Defense.
The requirements for acquiring the product described herein shall consist of this
specification sheet and the issue of the following specification listed in that issue
of the Department of Defense Index of Specifications and Standards (DODISS)
specified in the solicitation: MIL-DTL-3786.
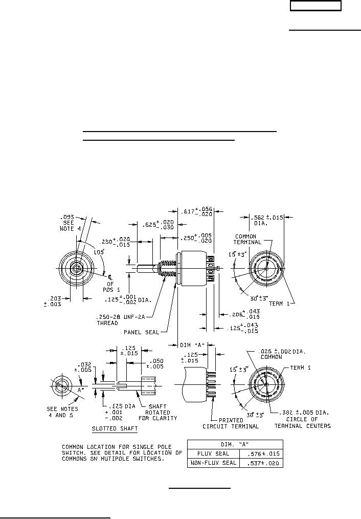
FIGURE 1. Switch style SR35.
AMSC N/A
1 of 10
FSC 5930
DISTRIBUTION STATEMENT A. Approved for public release; distribution is unlimited.