
INCH-POUND
MIL-DTL-3786/32C
19 November 2004
SUPERSEDING
MIL-S-3786/32B(USAF)
5 March 1976
DETAIL SPECIFICATION SHEET
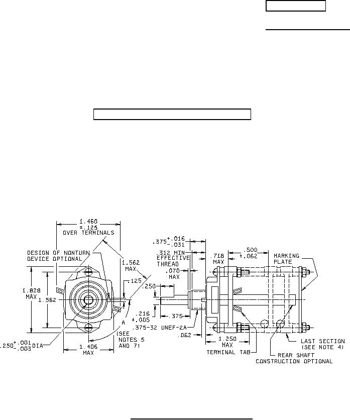
SWITCH, ROTARY, OPEN CONSTRUCTION, 1/5 AMPERE,
STYLE SR32
Inactive for new design after 8 March 1999
This specification is approved for use by all
Departments and Agencies of the Department of Defense.
The complete requirements for acquiring the switch described herein shall consist of this specification
and MIL-DTL-3786.
FIGURE 1. Styles SR32-1 and SR32-2 switches.
AMSC N/A
FSC 5930
For Parts Inquires call Parts Hangar, Inc (727) 493-0744
© Copyright 2015 Integrated Publishing, Inc.
A Service Disabled Veteran Owned Small Business