
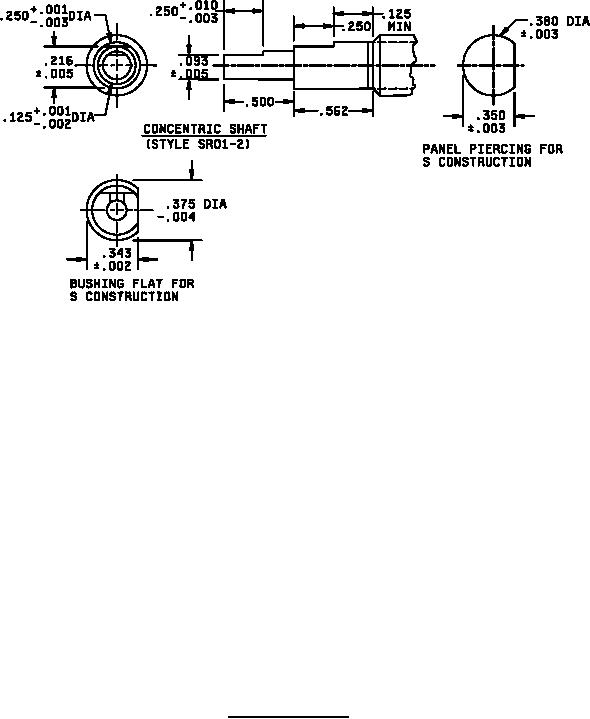
MIL-DTL-3786/1G
NOTES:
1. Dimensions are in inches.
2. Metric equivalents are given for general information only.
3. Unless otherwise specified, tolerance is ±.015 (0.38 mm).
4. The number of sections is optional.
5. Nonturn device as shown is not applicable to S construction switches.
6. Shaft-flat angle 90° is the angle between a line through the center of the shaft and center of the
nonturn device and another line through the center of the shaft and perpendicular to the shaft flat.
7. Shaft shown in maximum counterclockwise position for switches with stop and with switch in
position number 1 for switches without stop.
8. For allowable variations, see MIL-DTL-3786 ordering data.
9. Front plate design optional provided it falls within the maximum O.D. of the section dimension
referenced.
FIGURE 1. Style SR01 switch - Continued.
2
For Parts Inquires call Parts Hangar, Inc (727) 493-0744
© Copyright 2015 Integrated Publishing, Inc.
A Service Disabled Veteran Owned Small Business