emilspec
An Integrated Publishing, Inc. Site
eMilSpec
An Integrated Publishing Website
MIL-DTL-21604-2 Switch, Rotary, Multipole And Selector, 5 Ampere, Style Jk
Pages
1
-
2
-
3
-
4
-
5
-
6
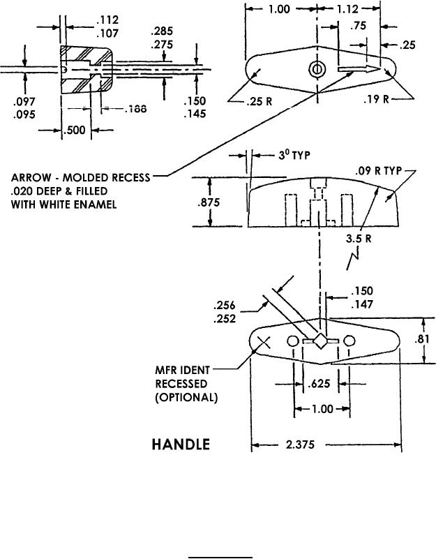
MIL-DTL-21604/2C
FIGURE
1. Style JK switch - Continued.
3