
MIL-DTL-15743/16B
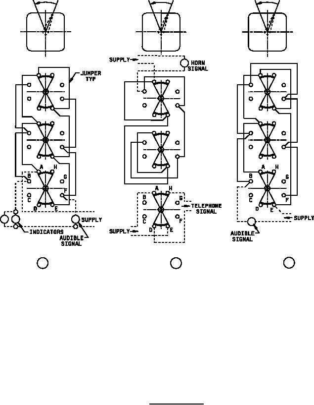
A. (See table I) 05
B. (See table I) 06
C. (See table I) 07
NOTE: Wiring diagrams are rear view of switch; handle moves "RIGHT ON"
(as viewed from front of switch).
SH 131303
FIGURE 6. Wiring diagrams.
5
For Parts Inquires call Parts Hangar, Inc (727) 493-0744
© Copyright 2015 Integrated Publishing, Inc.
A Service Disabled Veteran Owned Small Business