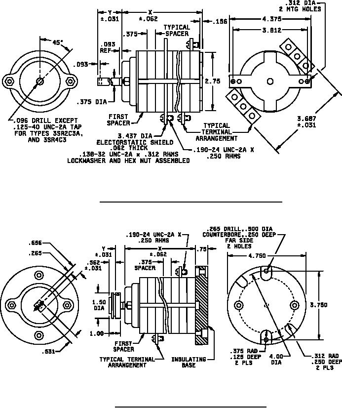
MIL-DTL-15291-7 Switches, Rotary, Snap Action Class 3Sr Base Mounted, Side Connected